Navigation
Detail
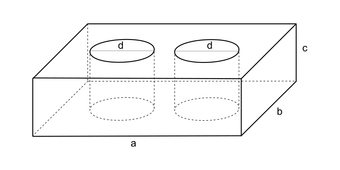
Quader mit zwei Bohrungen
Urheber:
CJU, CC0
Bildnummer:
P11791
Auflösung:
800x400
Format:
PNG
Quelle:
https://www.schulportal-thueringen.de/pixiothek/detail?tspi=P11791
Kurzbeschreibung:
Das Bild gehört zur Serie "Geometrie Körper". Es zeigt einen Quader, durch den zwei kreisrunde Bohrungen verlaufen. Bei Vorgabe von Maßangaben für die bezeichneten Seiten kann das Volumen des Körpers berechnet werden. Das Bild ist unter CC0 lizenziert und kann somit frei verwendet werden.
Verwandte Bilder (Auswahl)
Quader mit Bohrung
(800x450)
Kreiszylinder
(850x1050)
Quader mit zwei Bohrungen
(800x400)
Quader mit Bohrung
(800x450)
Kreiszylinder, Körpernetz
(1050x1000)
Quader mit Bohrung
(800x450)
Quader mit Bohrung
(800x450)
Quader mit zwei Bohrungen
(800x400)
Quader mit zwei Bohrungen
(800x400)
Verwandte Medien (Auswahl)
Es wurden aktuell keine verwandten Medien gefunden.